vue element表格实现多层数据嵌套

今天用element的表格渲染了商城的购物车列表,element的表格之前也用到过,它把所有的东西都封装好了,

这是完成之后的

  

只需要往里面传数据就可以了,通过prop来拿到相对应的字段,非常方便,但是天不尽人愿呐,后台接口返回的数据  

是嵌套多了一层,直接上图,后台返回的数据结构

  

data下面是店铺的名字和id,orderItemList是店铺下面的商品,店铺要显示,商品更要显示,(难受)

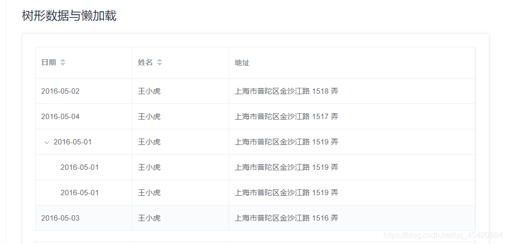
这nm嵌套两层,表格拿不出来啊,于是各种想思路,什么里边再套一个表格,这样会出现空表头,也从网上找了很多方法,都是差强人意,决心还是要自己解决,当我研究了element的表格之后,发现一个叫树形数据,见下图

  

我可以把店铺名字放到尖括号展开啊,再把店铺下的orderItemList放到尖括号展开下 (我这无处安放的才华)。  

我研究了树形表格之后,发现无论是展开还是折叠,就拿上图为例,他的日期的字段必须是一样的,包括姓名地址也必须是一样的,但是看我的返回的数据不一样啊,那就要想办法,于是我就循环了接口返回的数据,代码如下

for(let i = 0; i < res.data.data.length; i  ){
   this.tableData.push({
        'goodsId':i, 
        'title':res.data.data[i].sellerName,
        'children':res.data.data[i].orderItemList
    })
}

按照我需要的字段来进行push,在每次循环之前要把tableData清空掉,不然你晓得,当然你也可以让后台把接口里的字段改掉,我这里后台也是拿的别人的改不掉,只能自己想办法,  

树形数据接收一个:

tree-props="{children: ‘children',hasChildren: ‘hasChildren'}"

这里的children是展开下的数据,这个字段是不是children都可以,说的是引号里的啊,外边的必须是children,hasChildren是 是否有这个展开下的数据,

我这里没有用到,当然是用之后还是要做很多的判断,因为你的店铺名字也是一行,只显示店铺名字,我把我代码贴出来,看一下

这是表格结构

<el-table
   :data="tableData"
   style="width: 90%;"
   row-key="goodsId"
   default-expand-all
   :header-cell-class-name='handleHead'
   @selection-change="handleSelectionChange"
   :tree-props="{children: 'children',hasChildren: 'hasChildren'}"
>
   <el-table-column
       width="55"
       type="selection"
       :selectable='handleCheckbox'
   >
   </el-table-column>
   <el-table-column show-overflow-tooltip width="400" label='商品'>
       <template slot-scope="scope">
           <div style="display:inline-block;">
               <img v-if="scope.row.picPath" class="shops-img" :src="scope.row.picPath" alt="">
               <span>{{scope.row.title}}</span>
           </div>
       </template>
   </el-table-column>
   <el-table-column label='单价' prop="price"></el-table-column>
   <el-table-column label='数量' prop="num">
       <template v-if="scope.row.num" slot-scope="scope">
           <span @click="shopsNumDown(scope.row.itemId)" class="shops-num-btn curpor">-</span>
           <span class="shops-num">{{scope.row.num}}</span>
           <span @click="shopsNumUp(scope.row.itemId)" class="shops-num-btn curpor"> </span>
       </template>
   </el-table-column>
   <el-table-column label='小计' prop="totalFee"></el-table-column>
   <el-table-column label='操作'>
       <template v-if="scope.row.price" slot-scope="scope">
           <div class="curpor handle-txt" @click="deleteShops(scope.row.itemId)">
               删除
           </div>
           <div class="curpor handle-txt" @click="addCollection(scope.row.goodsId)">
               移入收藏夹
           </div>
       </template>
   </el-table-column>
</el-table>

方法  

我这里用到了多选框勾选商品,当el-table-column的type为selection时接受一个方法为selectable,决定谁可以被选择,我这里是只有商品才能被勾选,所以店铺就给false掉了。  

我把表头的那个总选框返回一个class名给隐藏了,最好用visibility: hidden;隐藏,它是占位隐藏,为什么给隐藏,是因为勾选了表头的总选框只能勾选到店铺,而商品勾选不到,研究了好久也没有发现,需求也不怎么需要,我就给隐藏了

handleCheckbox(row,index){
  if(!row.children){
       return true
   }
},
handleHead(row){
   if(row.columnIndex === 0){
       return 'check-head'
   }
},

以上为个人经验,希望能给大家一个参考,也希望大家多多支持Devmax。 

vue+element表格实现多层数据的嵌套方式的更多相关文章

  1. Vue如何指定不编译的文件夹和favicon.ico

    这篇文章主要介绍了Vue如何指定不编译的文件夹和favicon.ico,具有很好的参考价值,希望对大家有所帮助。如有错误或未考虑完全的地方,望不吝赐教

  2. 使用layui实现左侧菜单栏及动态操作tab项的方法

    这篇文章主要介绍了使用layui实现左侧菜单栏及动态操作tab项的方法,本文通过实例代码给大家介绍的非常详细,对大家的学习或工作具有一定的参考借鉴价值,需要的朋友可以参考下

  3. 在iOS上绘制扭曲的文本

    使用iOS9及更高版本中提供的标准API,如何在绘制文本时实现扭曲效果?

  4. ios – 如果Element符合给定的协议,则扩展阵列以符合协议

    如果是这样,语法是什么?解决方法Swift4.2在Swift4.2中,我能够使用符合这样的协议的元素扩展数组:

  5. ios – Xcode只看到一些嵌套类的类似扩展,这些扩展是用不同的文件编写的

    解决方法我遇到过类似的问题,似乎编译器正在尝试处理扩展嵌套类的文件,在嵌套类定义之前.因此,您有此错误说该Space没有成员SomeClass.我发现的解决方案是转到目标设置,打开BuildPhases.在“编译源”部分中,您应该将用于定义嵌套类的文件放在扩展它的文件上.这个解决方案似乎甚至可以很好地与您的观察结果一致,当您重新创建文件时,它有时会编译,因为当您重新创建文件时,它在编译源中的位置会发生变化.

  6. ios – 嵌套递归函数

    我试图做一个嵌套递归函数,但是当我编译时,编译器崩溃.这是我的代码:编译器记录arehere解决方法有趣的…它似乎也许在尝试在定义之前捕获到内部的引用时,它是bailing?以下修复它为我们:当然没有嵌套,我们根本没有任何问题,例如以下工作完全如预期:我会说:报告!

  7. ios – 在swift中将捕获列表正确放置在嵌套闭包中

    在Swift中为哪些嵌套闭包定义捕获的引用?如果[weakself]被捕获在只有内部最后面的闭包,GCD将保留ExampleDataSource,直到块完成执行,这就解释了为什么调试看起来像这样:同样的事情会发生,如果没有捕获列表被包括,我们从来没有可选地解开自己,尽管编译器,确实试图警告你!

  8. ios – 无效的软件包 – 嵌套软件包没有在CFBundleSupportedPlatforms Info.plist键中列出的正确平台

    我上传了一个应用程序到iOSAppStoretestflight.iOSAppStore收到以下电子邮件:InvalidBundle–Anestedbundledoesn’thavetherightplatformslistedinCFBundleSupportedplatformsInfo.plistkey.Oncetheseissueshavebeencorrected,youcanthenr

  9. ios – 如何在swift中获取2数组的常见元素列表

    (双关语)编辑:,你可以这样做这个实现是丑陋的.

  10. ios – 如何在使用嵌套上下文时自动设置Core Data关系

    解决方法想到的第一个想法是,虽然姓名的人际关系是不可选的,但你并没有说Person的姓名关系也是不可选的.创建一个没有名字的人,可以用您的代码处理,然后在实际需要时创建名称吗?当然不用打扰自定义awakeFromInsert…

随机推荐

  1. js中‘!.’是什么意思

  2. Vue如何指定不编译的文件夹和favicon.ico

    这篇文章主要介绍了Vue如何指定不编译的文件夹和favicon.ico,具有很好的参考价值,希望对大家有所帮助。如有错误或未考虑完全的地方,望不吝赐教

  3. 基于JavaScript编写一个图片转PDF转换器

    本文为大家介绍了一个简单的 JavaScript 项目,可以将图片转换为 PDF 文件。你可以从本地选择任何一张图片,只需点击一下即可将其转换为 PDF 文件,感兴趣的可以动手尝试一下

  4. jquery点赞功能实现代码 点个赞吧!

    点赞功能很多地方都会出现,如何实现爱心点赞功能,这篇文章主要为大家详细介绍了jquery点赞功能实现代码,具有一定的参考价值,感兴趣的小伙伴们可以参考一下

  5. AngularJs上传前预览图片的实例代码

    使用AngularJs进行开发,在项目中,经常会遇到上传图片后,需在一旁预览图片内容,怎么实现这样的功能呢?今天小编给大家分享AugularJs上传前预览图片的实现代码,需要的朋友参考下吧

  6. JavaScript面向对象编程入门教程

    这篇文章主要介绍了JavaScript面向对象编程的相关概念,例如类、对象、属性、方法等面向对象的术语,并以实例讲解各种术语的使用,非常好的一篇面向对象入门教程,其它语言也可以参考哦

  7. jQuery中的通配符选择器使用总结

    通配符在控制input标签时相当好用,这里简单进行了jQuery中的通配符选择器使用总结,需要的朋友可以参考下

  8. javascript 动态调整图片尺寸实现代码

    在自己的网站上更新文章时一个比较常见的问题是:文章插图太宽,使整个网页都变形了。如果对每个插图都先进行缩放再插入的话,太麻烦了。

  9. jquery ajaxfileupload异步上传插件

    这篇文章主要为大家详细介绍了jquery ajaxfileupload异步上传插件,具有一定的参考价值,感兴趣的小伙伴们可以参考一下

  10. React学习之受控组件与数据共享实例分析

    这篇文章主要介绍了React学习之受控组件与数据共享,结合实例形式分析了React受控组件与组件间数据共享相关原理与使用技巧,需要的朋友可以参考下

返回
顶部